Nitin Kamra

I am a Sr. Research Scientist at Reality Labs Research, Meta. I work on policy learning for dexterous manipulation with humanoid robots. Before this, I was working on developing agentic AI and reinforcement learning algorithms for assistive agents to provide guidance to users in performing day-to-day tasks.

I graduated with a Ph.D. in Computer Science and an MS in Intelligent Robotics from the University of Southern California (USC) in May 2021, advised by Yan Liu. My research focused on prediction and learning in multi-agent settings. I also hold an undergraduate degree in Electrical Engineering from IIT Delhi.

           

profile photo

Research

I'm interested in understanding "understanding" itself, aiming to develop architectures for artificial agents to achieve human-level understanding. My research spans deep reinforcement learning, continual learning, robotics, reasoning, and planning.

Publications

Learning and Planning for Embodied Agents

Reward Design Agent for Reinforcement Learning
Hojoon Lee, Ajay Subramanian, Ben Abbatematteo, Vijay Veerabadran, Pedro Matias, Karl Ridgeway and Nitin Kamra
Under preparation, 2026

Reinforcement learning typically requires hand-crafted reward functions. We present Reward Design Agent (RDA), a VLM-based agentic framework that automates reward design by using a VLM to generate and iteratively improve reward code given task instructions. It injects semantics into the reward design process by decomposing tasks, performing visual trajectory evaluation, failure mode summarization, and iteratively revises reward code to better follow task instructions. Evaluated on 12 table-top manipulation tasks from ManiSkill and 4 loco-manipulation tasks from HumanoidBench, RDA trains policies that are substantially more instruction-aligned than the current SotA while matching task success rate.

Webpage | Link | Code | Bibtex

DigiData: Training and Evaluating General-Purpose Mobile Control Agents
Yuxuan Sun, Manchen Wang, Shengyi Qian, William R. Wong, Eric Gan, Pierluca D'Oro, Alejandro Castillejo Munoz, Sneha Silwal, Pedro Matias, Nitin Kamra, Satwik Kottur, Nick Raines, Xuanyi Zhao, Joy Chen, Joseph Greer, Andrea Madotto, Allen Bolourchi, James Valori, Kevin Carlberg, Karl Ridgeway and Joseph Tighe
ArXiv, 2025

We introduce DigiData, a large-scale, high-quality, diverse, multi-modal dataset designed for training mobile control agents. Additionally, we present DigiData-Bench, a benchmark for evaluating mobile control agents on real-world complex tasks.

Webpage | ArXiv | Code | Dataset | Bibtex

Benchmarking Egocentric Multimodal Goal Inference for Assistive Wearable Agents
Vijay Veerabadran, Fanyi Xiao, Nitin Kamra, Pedro Matias, Joy Chen, Caley Drooff, Brett D Roads, Riley Williams, Ethan Henderson, Xuanyi Zhao, Kevin Carlberg, Joseph Tighe and Karl Ridgeway
(Spotlight) Advances in Neural Information Processing Systems (NeurIPS), 2025

This work focuses on creating a strong benchmark to measure progress in solving the egocentric multimodal goal inference problem for assistive wearable agents using vision-language models (VLMs).

Webpage | ArXiv | Paper | Code | Dataset | Poster | NeurIPS talk | Bibtex

Language-based Hierarchical Goal Decomposer and API Executor
Nitin Kamra
Reality Labs Research, Meta, 2024

Language-based Hierarchical Goal Decomposer and API Executor.

Human-Centered Planning
Yuliang Li, Nitin Kamra, Ruta Desai and Alon Halevy
ArXiv, Nov 2023

We develop an LLM-based planner (LLMPlan) extended with the ability to self-reflect on its output.

ArXiv | Bibtex

Zero-shot Compositional Generalization with Conjugate Task Graphs
Nitin Kamra and Rohan Chitnis
Reality Labs Research, Meta, 2023

Zero-shot Compositional Generalization with Conjugate Task Graphs.

Pretrained Language Models as Visual Planners for Human Assistance
Dhruvesh Patel, Hamid Eghbalzadeh, Nitin Kamra, Michael Louis Iuzzolino, Unnat Jain and Ruta Desai
International Conference on Computer Vision (ICCV), Oct 2023
A short version appears in ICCV Workshop on Assistive Computer Vision and Robotics (ACVR), Oct 2023

We show that pretrained Vision Language Models can act as visual planners for human assistance.

ArXiv | Paper | Code | Bibtex

EgoTV: Egocentric Task Verification from Natural Language Task Descriptions
Rishi Hazra, Brian Chen, Akshara Rai, Nitin Kamra and Ruta Desai
International Conference on Computer Vision (ICCV), Oct 2023

We propose a benchmark and a synthetic dataset called Egocentric Task Verification (EgoTV) to enable egocentric agents to understand everyday tasks. The goal in EgoTV is to verify the execution of tasks from egocentric videos based on the natural language description of these tasks.

ArXiv | Paper | Code | Dataset | Bibtex

Action Dynamics Task Graphs for Learning Plannable Representations of Procedural Tasks
Weichao Mao, Ruta Desai, Michael Louis Iuzzolino and Nitin Kamra
AAAI Workshop on User-Centric Artificial Intelligence for Assistance in At-Home Tasks, Feb 2023

Given video demonstrations and paired narrations of an at-home procedural task, we present an approach to extract the underlying task structure - relevant actions and their temporal dependencies - via action-centric task graphs.

ArXiv | Paper | Bibtex

Effective Baselines for Multiple Object Rearrangement Planning in Partially Observable Mapped Environments
Engin Tekin, Elaheh Barati, Nitin Kamra and Ruta Desai
AAAI Workshop on User-Centric Artificial Intelligence for Assistance in At-Home Tasks, Feb 2023

Our goal is to enable home-assistive intelligent agents to efficiently plan for rearrangement under partially observed, but mapped environments. We investigate both monolithic and modular deep reinforcement learning methods for planning in this setting.

ArXiv | Paper | Bibtex

Learning in Multiagent Systems

Machine Learning in Interacting Multi-agent Systems
Nitin Kamra
PhD Thesis (University of Southern California), Jul 2021

I propose methods to advance the state-of-the-art for several multi-agent prediction, control and learning problems.

Pdf | Link | Bibtex

Gradient-based Optimization for Multi-resource Spatial Coverage Problems
Nitin Kamra and Yan Liu
Conference on Uncertainty in Artificial Intelligence (UAI), Jul 2021
A short version appears in NeurIPS workshop on Interpretable Inductive Biases and Physically Structured Learning, 2020

We propose the coverage gradient theorem, which provides a gradient estimator for a broad class of spatial coverage objectives using a combination of Newton-Leibniz theorem and implicit boundary differentiation. Our framework approximates the coverage objectives and their gradients using spatial discretization and solves several multi-resource spatial coverage problems efficiently via gradient-based optimization.

Paper | Workshop | Video | Bibtex

Multi-agent Trajectory Prediction with Fuzzy Query Attention
Nitin Kamra, Hao Zhu, Dweep Trivedi, Ming Zhang and Yan Liu
Advances in Neural Information Processing Systems (NeurIPS), 2020
A short version appears in Southern California Machine Learning Symposium (SCMLS), 2020

We present an architecture to address the challenge of trajectory prediction for scenes with multiple agents and entities. We model crucial inductive biases of motion, namely, inertia, relative motion, intents and interactions via a relational model to flexibly capture interactions between agents in diverse environments. Specifically, we propose a novel attention mechanism which models interactions by making continuous-valued (fuzzy) decisions and learning the corresponding responses. Our architecture demonstrates significant gains over existing state-of-the-art models in diverse domains such as human crowds, freeway traffic, sports trajectories and physics.

Paper | Symposium | ArXiv | Code | Bibtex

DeepFP for Finding Nash Equilibrium in Continuous Action Spaces
Nitin Kamra, Umang Gupta, Kai Wang, Fei Fang, Yan Liu and Milind Tambe
Conference on Decision and Game Theory for Security (GameSec), 2019
A short version appears in International Conference on Autonomous Agents and Multiagent Systems (AAMAS), 2019

We present DeepFP, an extension of fictitious play for finding nash equilibrium of two-player zero-sum games in continuous action spaces. DeepFP represents players’ best responses via generative neural networks which are highly expressive implicit density approximators and trains them end-to-end in an actor-critic style framework.

Paper | AAMAS abstract | Pdf | Bibtex

Policy Learning for Continuous Space Security Games using Neural Networks
Nitin Kamra, Umang Gupta, Fei Fang, Yan Liu and Milind Tambe
AAAI Conference on Artificial Intelligence (AAAI), Feb 2018
A short version appears in IJCAI International Workshop on A.I. in Security (IWAISe), Aug 2017

We present OptGradFP, a novel deep learning based approach for continuous space security games, that searches for the optimal defender strategy in a parameterized continuous search space, and can be used to learn policies over multiple game states simultaneously.

Paper | Workshop | Workshop pdf | Slides | Bibtex

Combinatorial Problems in Multi-Robot Battery Exchange Systems
Nitin Kamra, T. K. Satish Kumar and Nora Ayanian
IEEE Transactions on Automation Science and Engineering (T-ASE), 2018

We present approximation algorithms with heuristics to address combinatorial problems that arise in multirobot delivery systems involving multiple aspects of resource scheduling and path planning that make them more complex than well-known combinatorial problems studied in operations research.

Paper | Pdf | Bibtex

A mixed integer programming model for timed deliveries in multirobot systems
Nitin Kamra and Nora Ayanian
IEEE International Conference on Automation Science and Engineering (CASE), Aug 2015

We present a solution to enable task robots to operate in long-duration autonmous missions by requesting resources (e.g. batteries) from a distribution center, which can deploy “delivery robots” to fulfill those requests. We address the scheduling problem with: (a) multiple incoming time-bound requests from the task robots, (b) priorities on task robots, (c) relaxed scheduling when available resources are scant, and (d) dynamic re-routing of delivery robots. The problem is posed as a variant of the Vehicle Routing Problem with Time Windows, and solved as a Mixed Integer Quadratic Program using a branch and bound based solver.

Paper | Poster | Slides | Bibtex

RF-Based Relative Localization for Robot Swarms
Wolfgang Hoenig and Nitin Kamra
University of Southern California (USC), 2015

We present a simple gradient-descent based localization approach based on detection of RF signals from robots, which scales efficiently to large number of robots in a distributed swarm.

Pdf

Machine Learning for Healthcare

Treatment Recommendation with Preference-based Reinforcement Learning
Nan Xu, Nitin Kamra and Yan Liu
IEEE International Conference on Big Knowledge (ICBK), 2021
A short version also appears in NeurIPS workshop on Deep Reinforcement Learning, 2020

We present an open simulation platform to model the evolution of two diseases, namely Cancer and Sepsis, and individuals' reactions to the received treatment. We experimentally show that preference-based reinforcement learning, where the reward function is itself learned based on treatment goals without expert demonstrations, achieves high survival rate and low side effects, with inferred rewards being highly correlated to treatment goals.

Webpage | Paper | Pdf | Workshop | Video | Bibtex

PolSIRD: Modeling Epidemic Spread under Intervention Policies
Nitin Kamra, Yizhou Zhang, Sirisha Rambhatla, Chuizheng Meng and Yan Liu
Journal of Healthcare Informatics Research (J-HIR), Jun 2021

We present a mathematical model, namely PolSIRD, which represents evolution of epidemics without assuming full observability and while accounting for the effects of under-reporting and intervention policies. Our model applied to the spread of COVID-19 in the United States, outperforms the methods employed by the CDC in predicting the spread, and correctly predicts the second wave of the epidemic as a result of lifting the intervention policies prematurely.

Paper | ArXiv | Bibtex

General Machine Learning

Deep Generative Dual Memory Network for Continual Learning
Nitin Kamra, Umang Gupta and Yan Liu
ArXiv, May 2018

We derive inspiration from human memory to develop an architecture capable of learning continuously from sequentially incoming tasks, while averting catastrophic forgetting. We present: (i) a dual memory architecture emulating the complementary learning systems (hippocampus and the neocortex) in the human brain, (ii) memory consolidation via generative replay of past experiences, and (iii) improved performance retention on challenging tasks even for low capacity models. Our architecture displays many characteristics of the mammalian memory and provides insights on the connection between sleep and learning.

Webpage | ArXiv | Bibtex

DynGEM: Deep Embedding Method for Dynamic Graphs
Nitin Kamra*, Palash Goyal*, Xinran He and Yan Liu
IJCAI International Workshop on Representation Learning for Graphs (ReLiG), Aug 2017

We present an efficient algorithm DynGEM based on deep autoencoders to produce embeddings of dynamic graphs evolving over time. Major advantages of DynGEM include: (1) embeddings are stable over time, (2) can handle growing dynamic graphs, and (3) has better running time than using static embedding methods on each snapshot of a dynamic graph.

ArXiv | Slides | Code | Bibtex

Towards Zero-shot Dialog Act Classification
Nitin Kamra, Daniel Elkind and Angeliki Metallinou
Alexa Natural Understanding, Amazon, 2020

We explore learning compact representations of task-oriented dialogs, called “dialog acts” (DAs), which comprise of a de-lexicalized grammar based on the general language patterns appearing in dialog interactions and compactly encode information about the intents and entities referenced in a conversation. We train a recurrent deep learning module custom designed for mapping conversations to a sequence of dialog acts and achieve remarkable performance in the in-domain setup and reasonable success at generalizing in the zero-shot setup.

Parallel Gradient Descent for Multilayer Feedforward Neural Networks
Nitin Kamra, Palash Goyal, Sungyong Seo and Vasilis Zois
University of Southern California (USC), 2016

We implement parallelized gradient descent to train multilayer feedforward neural networks via various modes: (a) parallelly processing examples across threads, (b) parallelizing matrix operations for a single training example using threads, (c) a BLAS parallelized version, and (d) a CUDA implementation on a GPU. All implementations are compared for speedup obtained across network architectures and increasing problem sizes, along with a comparison with the deep learning library: Theano.

Pdf | Slides | Code

Predicting Rainfall with Polarimetric Radar Data
Nitin Kamra and James Preiss
Kaggle Competition, 2015

Pdf

Other Projects

Output Power Maximization in Energy Harvesting Applications
Nitin Kamra and Shouribrata Chatterjee
Undergraduate Thesis (IIT Delhi), 2014

I present exploratory research for increasing the efficiency of an Energy Harvesting Integrated Circuit architecture.

Pdf

ROSHNI: Indoor Navigation System for Visually Impaired
Nitin Kamra, Devesh Singh, Dhruv Jain and M. Balakrishnan
IIT Delhi, 2012

Roshni IITD

Elementary Iterative Methods and the Conjugate Gradient Algorithm
Nitin Kamra
High Performance Computing, Indo-German Winter Academy, Dec 2012

Slides

Patents

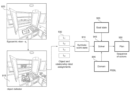
Task Optimization in an Extended Reality Environment
Ruta Parimal Desai and Nitin Kamra
US Patent Application 20230342677, Filed Apr 21, 2023
Reality Labs Research, Meta

We present a goal-conditioned agent to enhance a user's ability and efficiency in performing tasks in an extended reality environment. The agent observes egocentric image input from a head-mounted device, generates a symbolic task state, plans a sequence of actions to achieve the desired task goal, and renders visual aid on the display of the head-mounted device to guide the user.

Link | Link2 | Bibtex

Correction of Speech Recognition on Repetitive Queries
Pinar Donmez Ediz, Ranjitha Kulkarni, Shawn Chang and Nitin Kamra
US patent 10,650,811, Issued May 12, 2023
Microsoft AI and Research, Summer 2017

We present a system to improve speech recognition by detecting and correcting speech recognition errors during a speech session. The system recognizes repeated speech commands from a user in a session that are similar or identical to each other. To correct these repeated errors, the system creates a customized language model that is then utilized by the language modeler to produce a refined prediction of the meaning of the repeated speech commands.

Link | Bibtex

Teaching

  • Teaching Assistant for CS-567: Machine Learning, USC (Spring 2020, Fall 2016)
  • Tutorial for Reinforcement Learning, CS-699: Advanced topics in Deep Learning, USC (Spring 2019)
  • Hosted the Artificial General Intelligence Reading Group at USC (Fall 2018)
  • Teaching Assistant for EEL301: Control Engg - I, IIT Delhi (Spring 2014)
  • Teaching Assistant for EEL201: Digital Electronics, IIT Delhi (Fall 2013)

Awards

  • Deep Learning Best Theory Project Award, CS-599: Deep Learning, University of Southern California (2017)
  • Viterbi Graduate Ph.D. Fellowship, University of Southern California (2014-18)
  • Best Mentor Award, Awarded by Mentorship Review Committee, Indian Institute of Technology, Delhi (2013)
  • SOF 3rd International Mathematics Olympiad, International Rank 16, School Topper and Gold Medalist (2010)
  • SOF 12th National Science Olympiad, National Rank 45, School Topper and Gold Medalist (2010)
  • FIITJEE Talent Reward Exam, Zonal Topper and Gold Medalist (2009)

Adapted from the coolest template